
Der SSD1322 ist ein OLED-Display-Controller der in Hong Kong ansässigen Firma Solomon Systech. Die Beschriftung D808AR1-03 verrät dies nicht, aber Hersteller und Typbezeichnung finden sich auf der flexiblen Leiterplatte. Der hier zu sehende Controller stammt von dem OLED-Display UG-5664ASWEF01. Es handelt sich um einen Flip-Chip. Das Silizium wird ohne ein zusätzliches Gehäuse auf die Platine gelötet.

Der SSD1322 besitzt 728 Pads, die direkt mit der flexiblen Leiterplatte verbunden werden.

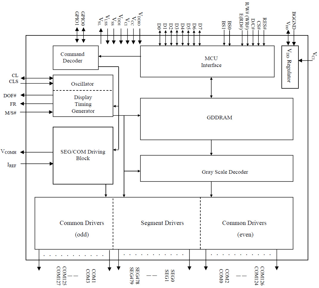
Das Datenblatt des SSD1322 enthält ein Blockschaltbild. Ein Controller verwaltet einen 480 x 128 x 4Bit großen RAM, der die Grafik enthält, die angezeigt wird. Es lassen sich entsprechend Displays mit Auflösungen bis zu 480 x 128 Pixeln mit 16 Graustufen ansteuern. Die Segmente werden mit 10-20V betrieben. Dabei lassen sich maximal 300µA pro Segment und maximal 80mA pro Zeile einstellen. Benötigt man nur 64 Zeilen, so kann man zwei Zeilentreiber für eine Zeile verwenden.
Der SSD1322 wird in zwei Varianten angeboten. Der SSD1322Z2 kann als Bare Die bezogen werden. Hier kam der SSD1322UR1 zum Einsatz. Es handelt sich dabei offenbar um den gleichen Controller, der allerdings bereits auf einer Folienleiterplatte aufgelötet ist. Das Design erlaubt eine Ansteuerung von Displays mit einer Auflösung von bis zu 256 x 128.
Die Abmessungen des Dies betragen 12,4mm x 1,53mm. Diese spezielle Geometrie ist notwendig, um die vielen Kontakte zum Display darstellen zu können. An der unteren Kante befinden sich die etwas breiteren Kontakte zur umgebenden Schaltung. Die schmaleren Kontakte zum Display nehmen nicht nur die obere und die seitlichen Kanten ein, sondern belegen auch die nicht benötigten Bereiche an der unteren Kante.
Dieses Bild ist auch in einer höheren Auflösung verfügbar: 30MB

Auf dem Die befinden sich Hilfsstrukturen zur korrekten Ausrichtung. Die Zeichenfolge oberhalb der Firmenbezeichnung könnte das Design oder die Revision der Metalllagen darstellen.
In der Mitte des Dies befindet sich die Steuerung und einige Hilfsschaltungen.
Dieses Bild ist auch in einer höheren Auflösung verfügbar: 5MB

Der große Logikblock in der Mitte des Steuerungsbereichs enthält die typischen Logikzeilen, die unter den Metalllagen gerade noch zu erahnen sind.
Rechts und links des Steuerungsblocks in der Mitte sind fünf der obigen Blöcke angeordnet. Wahrscheinlich enthalten diese Flächen neben den Endstufen auch die Speicherzellen für die Grafikdaten.
Dieses Bild ist auch in einer höheren Auflösung verfügbar: 4MB

Die Endstufen stellen laut Datenblatt eine H-Brücke dar.