
Maxim vertreibt mit dem MAX7219 einen Treiber, der über eine serielle Schnittstelle mit einem Takt von bis zu 10MHz konfiguriert werden kann und bis zu acht 7-Segment-Anzeigen ansteuert.

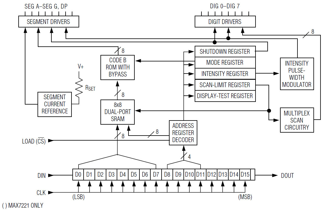
Das Datenblatt enthält ein Blockschaltbild, das den inneren Aufbau des MAX7219 zeigt. Die Daten der seriellen Schnittstelle werden konstant in einem Schieberegister abgelegt und können dann in ein 8x8-RAM übernommen werden. Über D8-D11 wird die gewünschte Adresse ausgewählt, an die die Daten D0-D7 geschrieben werden sollen. Die Adressen, die für die Auswahl der Anzeigen nicht benötigt werden, ermöglichen es Steuerbefehle zu übertragen. Darüber kann zum Beispiel die Pulsweite der LED-Ansteuerung konfiguriert werden. Das sogenannte CODE B ROM ermöglicht es mit BCD Daten zu arbeiten oder die Segmente direkt anzusteuern.
Gesteuert werden die 7-Segment-Anzeigen im Multiplexverfahren über acht Anzeigen-Treiber und acht Segment-Treiber. Der Strom durch die Anzeigen lässt sich mit einem externen Widerstand einstellen. Das Datenblatt garantiert einen minimalen Strom von 320mA für jeden Anzeigen-Treiber und einen typischen Strom von 40mA für die Segment-Treiber. Die Ströme der Segment-Treiber unterscheiden sich typischerweise nur um 3%, was für eine gleichmäßige Helligkeit der Segmente sorgt.

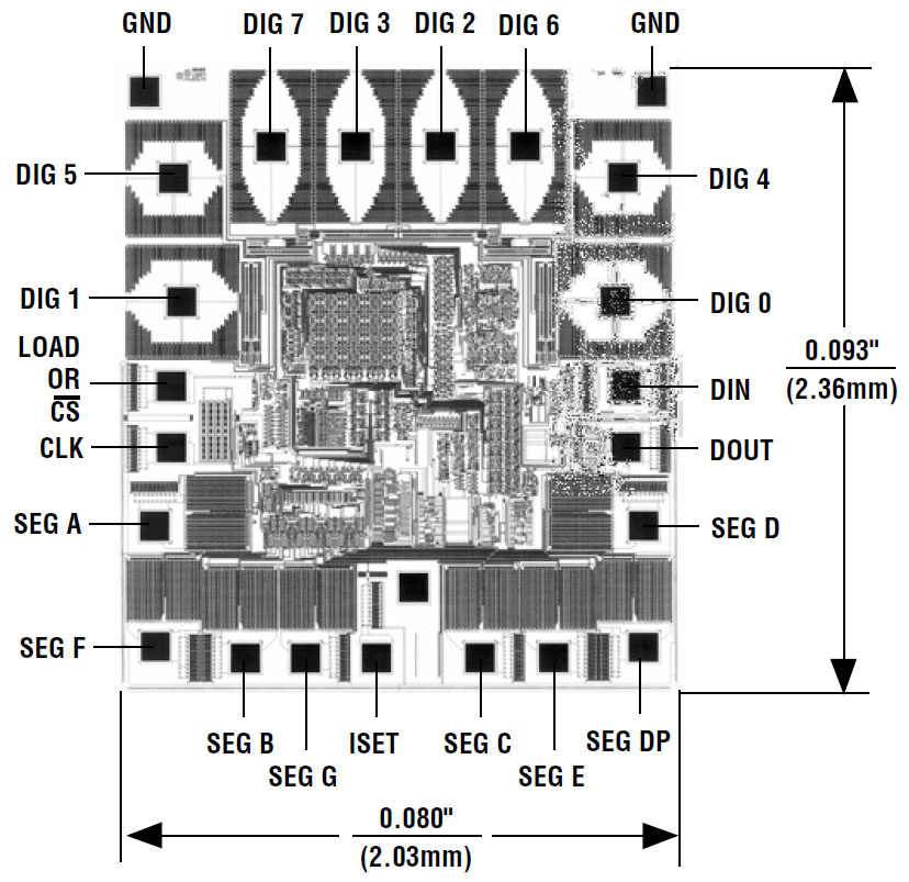
Die Abmessungen des Dies betragen 1,2mm x 1,1mm. In der Mitte des Dies befindet sich die Steuerung. Um den Umfang herum sind die Endstufen integriert.

Das Datenblatt enthält ein Abbild der Metalllage des Dies. Weder die Abmessungen noch die Strukturen passen zum hier vorliegenden Die. Entweder wurde das Design im Laufe der Zeit überarbeitet, um aus einem Wafer mehr Schaltkreise gewinnen zu können oder der MAX7221 enthält ein anderes Die, welches hier zu sehen ist. Das Datenblatt gilt sowohl für den MAX7219 als auch für den MAX7221. Die beiden Schaltkreise sind sich sehr ähnlich, der MAX7221 weist aber einige signifikante Unterschiede auf. Er kann im Gegensatz zum MAX7219 über SPI, QSPI und MICROWIRE angesteuert werden. Außerdem ist die Stromanstiegsgeschwindigkeit der Ausgänge begrenzt, was die Gefahr von Störungen in benachbarten Schaltungsteilen reduziert. Dazu kommt, dass der MAX7221 seine Ausgänge nur abschaltet, während der MAX7219 von einem Versorgungspotential zum anderen schaltet.
Es könnte sich auch um eine Fälschung handeln.

Die Strukturen sind relativ klein, dennoch lassen sich sieben Maskenrevisionen erkennen. Das A steht vermutlich für eine erste Revision. Die Zeichen LTH6868 könnten eine interne Bezeichnung darstellen.

Im oberen Bereich befinden sich die größeren Anzeigen-Treiber. Oberhalb und unterhalb beziehungsweise rechts und links eines jeden Bondpads ist jeweils ein größerer Transistor platziert. Die zwei Transistoren ermöglichen die spezifizierten 320mA pro Anzeige. In den Ecken kann über vier Bondpads das Massepotential zugeführt werden. Genutzt wurden zwei davon.
Im inaktiven Zustand schaltet der MAX7219 die Ausgänge auf das positive Versorgungspotential. Laut Datenblatt dürfen darüber maximal 2mA fließen. Die zugehörigen Transistoren sind über etwas breitere Leitungen in der zweiten Metalllage angebunden. Die Leitungen enden unter einem inneren Ring, der das positive Versorgungspotential führt. Dort müssen sich die Highsidetransistoren befinden.

Im unteren Bereich des Dies befinden sich die acht Stromquellen, die die LED-Segmente versorgen. Mittig befindet sich das massiv angebundene Bondpad, das das Versorgungspotential niederohmig zuführt. Links neben diesem Bondpad befindet sich das Bondpad über das der Strom der Stromquellen eingestellt werden kann. Ein kleiner Unterschied ist die breite Leitung, die von der linken oberen Ecke des Bondpads in der zweiten Metalllage nach oben führt und höchstwahrscheinlich als Steuersignal für die Stromquellen dient. Bei allen anderen Bondpads führen lediglich dünne Steuerleitungen in den inneren Bereich.
Am äußeren Rand sind die kleinen Lowsidetransistoren integriert, die im abgeschalteten Zustand die Ausgänge auf einem Low-Pegel halten. Das Datenblatt spezifiziert hier einen Mindeststrom von 5mA. Unter dem inneren Metallstreifen, der das Versorgungspotential führt, befinden sich die Highside-Transistoren, die typischerweise 40mA liefern können. Hier zeigt sich deutlich die unterschiedliche Stromtragfähigkeit von Highside- und Lowsidetransistoren. Die Lowsidetransistoren ermöglichen auf einer ungefähr doppelt so großen Fläche einen fast zehnmal so großen Strom.

An der linken Kante des Dies befinden sich der Takteingang und der Steuereingang zur Übernahme der im Schieberegister befindlichen Daten. Auch hier führen etwas breitere Leitungen in der zweiten Metalllage in das Innere des Schaltkreises.
Rechts und links der Bondpads kann man ähnliche Strukturen wie bei den Ausgängen erkennen. Hier handelt es sich höchstwahrscheinlich um Schutzstrukturen gegen Über- und Unterspannungen.

An der rechten Kante befinden sich die Bondpads für den Dateneingang und den Datenausgang. Am unteren Datenausgang fehlt die breite Leitung ins Innere des Schaltkreises.

In der Mitte des Dies ist die Steuerungslogik platziert. Die hohe Integrationsdichte macht es unmöglich einzelne Strukturen aufzulösen. Das große, gleichmäßig strukturierte Rechteck in der oberen linken Ecke könnte den 8x8-RAM enthalten.