
Der Texas Instruments TMS27C240 ist ein EPROM mit einer Speichertiefe von 512kB. Die Endung 12 steht für eine maximale Zugriffszeit von 120ns. Daneben gab es zwei weitere Sortierungen mit maximalen Zugriffszeiten von 100ns und 150ns.

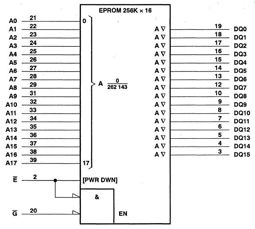
Das Blockschaltbild im Datenblatt zeigt die Architektur des Speichers. Der TMS27C240 besitzt 18 Adresseingänge und einen 16Bit breiten Datenbus.
Das Die ist mit 6,6mm x 6,4mm sehr groß. Die Speicherfläche ist in mehrere Segmente aufgeteilt. Dieses Bild ist in höherer Auflösung verfügbar: 54MB

Die interne Bezeichnung scheint T27C240A zu lauten. Das A könnte für eine erste Revision stehen. Das Design stammt offensichtlich aus dem Jahr 1992.

In der oberen linken Ecke des Dies sind verschiedene Masken abgebildet.

Die Speicherzellen selbst sind zu klein, um sie auflösen zu können.