

Die MAA550 ist eine Referenzspannungsquelle von Tesla. Es handelt sich um einen Nachbau der ursprünglich von Valvo entwickelten TAA550, die hier genauer beschrieben ist. Die Ausgangsspannung spezifiziert Tesla mit 31-35V. Der Temperaturkoeffizient wird mit -3,1mV/K bis 1,55mV/K angegeben. Die Zeichen FX stehen für eine Fertigung im Mai 1974.

Im Heft 13 / 1972 der Radio Fernsehen Elektronik sind einige weiterführende Informationen zur MAA550 abgebildet. So ist zum Beispiel deutlich zu erkennen, dass die MAA550 einen Stromfluss von mindestens 1mA benötigt. Die Spezifikationen gelten für einen Strom von 5mA. Gleichzeitig beschreibt der Text, dass die Belastung durch die angeschlossene Schaltung nicht über 1mA steigen sollte.

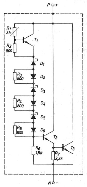
Das Datenblatt der MAA550 enthält den obigen Schaltplan. Die Funktionsweise ist die gleiche wie die Funktionsweise der TAA550. Hier hat man lediglich die drei Transistoren mit den zwei Emittern als Z-Dioden und Dioden dargestellt.

Im Gehäuse befindet sich ein integrierter Schaltkreis, der über einen Bonddraht an einen der Pins angebunden ist. Der andere Pin ist mit dem Gehäuse und so mit dem Substrat des Schaltkreises verbunden.


Die Abmessungen des Dies betragen 0,58mm x 0,57mm. Wie in der TAA550 sind keine isolierten Bereiche zu erkennen.

Rechts unterhalb des Bonpads befindet sich der Kontakt zum Substrat und damit zum P-Potential. Der Widerstand R1 besteht aus vier Elementen, die über die Metalllage kurzgeschlossen werden können. Auf dem Transistor T1 befindet sich ein ungenutzter Kontakt. Es handelt sich um den Basiskontakt, der nicht notwendig ist, da der Widerstand R1d direkt in die Basisfläche übergeht.
Wie in der TAA550 sind auch in der MAA550 die Dioden als Transistoren mit zwei Emitterflächen realisiert. Die drei Widerstände R3, R4 und R5 spezifziert der Schaltplan mit jeweils 800Ω. Betrachtet man die Geometrien auf dem Die, so ist deutlich zu erkennen, dass die Längen und damit die Widerstandswerte unterschiedlich sind. R5 ist kleiner als R3 und R4. R3 und R4 sind allerdings ungefähr gleich groß. Der quadratische Endstufentransistor T3 scheint minimal kleiner zu sein als der Endstufentransistor in der TAA550.

Eine Abschätzung der Widerstandswerte zeigt, dass der Faktor des Vbe Multipliers im Bereich zwischen 1,6 und 4,0 eingestellt werden kann. Mit der hier vorliegenden Metalllage beträgt der Faktor 3,4.


Die hier zu sehende MAA550 wurde rot beschriftet. Ein Datecode ist nicht aufgedruckt.



Die Metalllage erscheint teilweise stark degeneriert. An der unteren Kante auf dem mittigen Transistor ist ein Kontakt fast vollständig unterbrochen. Eine thermische Überlastung wäre als Ursache denkbar, dabei trete aber üblicherweise stärker lokalisierte Schäden auf. Wahrscheinlicher ist, dass es Probleme beim Auftragen der Metallschicht gab.


Der hier zu sehende MAA550 trägt den Datecode BY1 und wurde damit im Mai 1977 hergestellt.



Im Gehäuse findet sich ein sehr stark beschädigtes Die. Während der Produktion wurde die obere rechte Ecke abgebrochen. An einigen Stellen hat sich die Metalllage chemisch verändert. Die Metalllage wurde damals oftmals mit Natronlauge strukturiert. Der optischen Erscheinung nach hat man die Oberfläche nach diesem Prozess nicht ausreichend gereinigt und mit der Zeit wurde weiteres Aluminium in Aluminiumhydroxid umgewandelt.