
Der FX335 von Consumer Microcircuits ist ein CTCSS Decoder. CTCSS steht für Continuous Tone Coded Subaudio Squelch. Dabei wird ein Ton über einen Kanal, üblicherweise eine Funkstrecke übertragen und ermöglicht es eines von bis zu 38 Endgeräte-Gruppen auszuwählen.

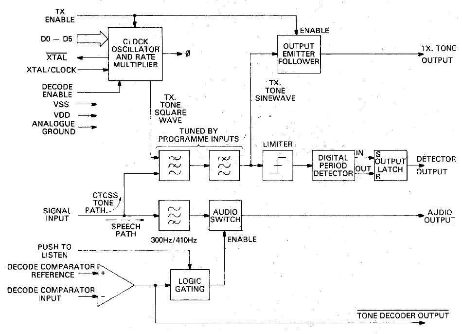
Das Blockschaltbild im Datenblatt zeigt die Funktionsweise des Bausteins. Das Eingangssignal ("Signal Input") enthält das Audiosignal und das CTCSS-Tonsignal. Das Audiosignal wird über einen Hochpassfilter abgetrennt und ausgegeben. Dieser Ausgang kann über ein Steuersignal von außen oder über einen internen Operationsverstärker aktiviert werden. Den Operationsverstärker verschaltet man üblicherweise so, dass er als Integrator arbeitet und das Audiosignal erst weitergibt, wenn das konfigurierte CTCSS-Tonsignal lange genug empfangen wurde.
Um das CTCSS-Tonsignal auswerten zu können, wird das Eingangssignal zuerst mit einem Tiefpass und dann mit einem Bandpass gefiltert. Die digitale Schnittstelle konfiguriert beide Filter so, dass sie nur das gewünschte Tonsignal durchleiten. Das gefilterte Signal wird ausgewertet und aktiviert den Ausgang "Detector Output". Dieser Ausgang steuert den Integrator, der das Audiosignal freigibt.
Der FX335 kann außerdem ein CTCSS-Tonsignal für den Sendebetrieb erzeugen. Dazu generiert ein Quarzoszillator ein Rechtecksignal. Die digitale Schnittstelle konfiguriert die Frequenz dieses Signals. Um das Rechtecksignal in ein Sinussignal umzuwandeln, wird es durch den Tiefpassfilter und den Bandpassfilter geführt, die auch bei der Auswertung des Eingangssignals zum Einsatz kamen.

Die Abmessungen des Dies betragen 5,0mm x 4,4mm. Die verschiedenen Funktionsblöcke sind gut zu erkennen.

Die Zeichenfolge L532P könnte eine interne Projektbezeichnung sein.

Entwickelt wurde der FX335 offensichtlich im Jahr 1984.

In einer Ecke des Dies sind die Revisionen mehrerer Masken abgebildet. Die Formatierung ist allerdings nicht selbsterklärend.

Im Randbereich hat man zwei Teststrukturen integriert. Die eine enthält PMOS-, die andere NMOS-Transistoren. Es handelt sich jeweils um zwei MOSFETs, deren Gate-Elektroden unterschiedliche Breite/Länge-Verhältnisse aufweisen. Die Strukturen ganz rechts in den beiden Gruppen besitzen kein Gateoxid. Die Metalllage befindet sich dort über einer dicken Oxidschicht. Darüber kann man den Einfluss von Metallleitungen auf darunter liegende Strukturen bewerten.

Im oberen Bereich des Dies wurden zwei sehr ähnliche Strukturen integriert. Sie sind umgeben von Kondensatoren, die aus einzelnen kleinen Elementen bestehen. Hierbei handelt es sich um die aktiven Filter, die mit geschalteten Kondensatoren arbeiten. Diese "Switched Capacitor Filter" sind im Rahmen des U1001 genauer beschrieben.

An der unteren Kante des Dies ist ein kleinerer Switched Capacitor Filter integriert. Wahrscheinlich handelt es sich hierbei um den Hochpassfilter im Audiopfad. Im Gegensatz zu den beiden Filtern für das CTCSS-Tonsignal muss der Filter im Audiopfad nicht aufwändig konfiguriert werden und fällt entsprechend kleiner aus.


In der linken unteren Ecke des Dies befindet sich ein Masken-ROM, das hier um 90° gedreht abgebildet ist. Am rechten Rand wird eine von 38 Zeilen ausgewählt. Das stimmt mit den 38 konfigurierbaren Tonfrequenzen überein. Fünf Bits werden invertiert, so dass zur Auswahl der Zeilen zusätzlich das komplementäre Signal zur Verfügung steht. Da fünf Bit nicht ganz ausreichen, um 38 Zeilen adressieren zu können, gibt es ein sechstes Bit, dass lediglich in die Steuerung der untersten sechs Zeilen eingreift (türkis).
Das ROM generiert neun Steuersignale, die nach unten heraus und dann nach links geführt werden. Jedes dieser neun Steuersignale ist mit zwei Bereichen innerhalb des ROMs verbunden. Links befindet sich an jeder Zeile ein Pull-Up-Widerstand. Die Zeilenauswahl erfolgt, indem die Schaltung ganz rechts eine Zeile hart mit dem negativen Versorgungspotential verbindet. Der schmalere rechte Bereich des ROMs enthält PMOS-Transistoren, die das positive Versorgungspotential auf die Steuerleitungen schalten können. Die Verteilung der Gateoxid-Ausschnitte stellt die Programmierung dar. Sie definiert wo sich ein Transistor ausbildet. In einer ausgewählten Zeile aktiviert das negative Potential alle vorhandenen PMOS-Transistoren.
Im linken Bereich wird von oben das negative Versorgungspotential zugeführt. Es ist mit den breiten vertikalen Streifen verbunden, die an der unteren Kante von den Steuerleitungen kontaktiert werden. Die breiten Streifen stellen eine Reihenschaltung von NMOS-Transistoren dar. Da die Zeilen im inaktiven Zustand einen High-Pegel führen, sind die Transistoren im Grundzustand leitend und belegen die Steuerleitungen mit einem Low-Pegel. Die NMOS-Transistoren im linken Bereich sind genauso verteilt wie die PMOS-Transistoren im rechten Bereich. Wird eine Zeile ausgewählt, also mit einem Low-Pegel belegt und eine Steuerleitung ist mit dieser Zeile verknüpft, dann schaltet der breite NMOS-Transistor ab und der kleine PMOS-Transistor wird aktiv. Die Steuerleitung führt in der Folge einen High-Pegel.