
Der TPIC2404 von Texas Instruments ist ein Smart-Switch, der vier Lowside-Endstufen enthält. Die maximale Sperrspannung liegt bei 45V. Im Chip sind Freilauf-Dioden integriert und paarweise über Anschlüsse nach außen geführt, so dass man extern das gewünschte Clampingpotential anschließen kann. Das Datenblatt gibt eine Stromtragfähigkeit von 1A an. Die Strombegrenzung setzt typischerweise bei 1,2A ein. Der Grenzwert kann aber bei sehr niedrigen Temperaturen bis auf 1,85A steigen. Der Baustein enthält einen Übertemperaturschutz und ist für einen relativ weiten Temperaturbereich von -40°C bis 125°C spezifiziert. Außerdem kann der gesamte TPIC2404 über einen Eingang deaktiviert werden und es ist ein Ausgang verfügbar, der Fehlerzustände anzeigt. Versorgungsspannungen zwischen -13V und 24V beschädigen den TPIC2404 nicht, so dass er sich gut für den Einsatz im Kraftfahrzeugbereich eignet.

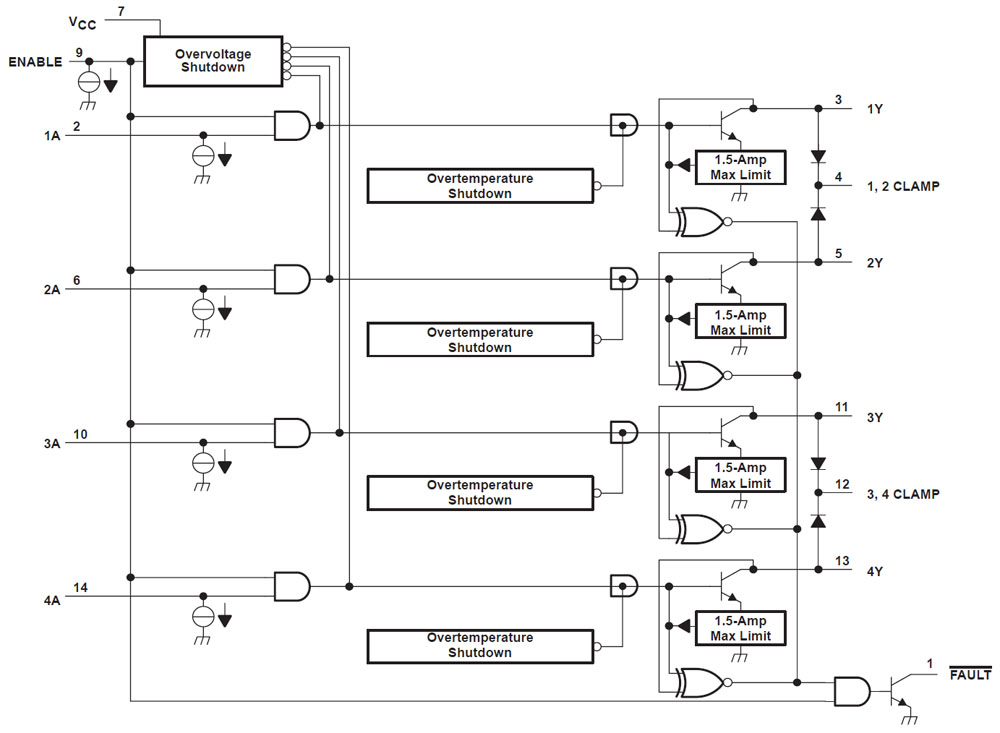
Das im Datenblatt abgebildete Blockschaltbild zeigt das Zusammenspiel der integrierten Funktionen. Vier diskrete Eingänge steuern die vier Endstufen. Stromsenken an den Eingängen sorgen für einen definierten Low-Pegel solange sie nicht angesteuert werden. Das Enable-Signal kann alle Ausgänge deaktivieren. Der TPIC2404 enthält nicht nur eine übergreifende Übertemperaturabschaltung, sondern auch einen eigenen Übertemperaturschutz für jede einzelne Endstufe.
An den Ausgängen befinden sich Bipolartransistoren, in deren Emitterpfaden der Überstromschutz integriert ist. Der Pfeil am Ausgang des Überstromschutzes ist etwas irreführend, da zum Schutz der Endstufentransistoren deren Treiberstrom abgeleitet werden muss und somit der Strom entgegen der Pfeilrichtung fließen muss. Jeder Ausgang besitzt eine Freilaufdiode. Jeweils zwei Freilaufdioden teilen sich einen Pin am Package, über den das Freilaufpotential eingestellt werden kann.
Die Erkennung eines fehlerhaften Zustands erfolgt über ein Gatter, dass die Ansteuerung des jeweiligen Endstufentransistors mit dem Potential am zugehörigen Ausgang vergleicht. Bei einem unplausiblen Wert aktiviert ein UND-Gatter den Transistor am FAULT-Ausgang.


Die Abmessungen des Dies betragen 3,9mm x 3,4mm. Es kamen zwei Metalllagen zum Einsatz.

Die einzelnen Bondpads und einige Funktionsblöcke sind gut zu erkennen. Die vier Endstufen befinden sich in den vier Ecken des Dies. Jede Endstufe besitzt ein eigenes Masse-Bondpad im inneren Bereich des Dies. Die Ausgänge sind passend an den Kanten platziert. Neben den großen Endstufentransistoren (hellgrün) befindet sich jeweils ein Streifen, der sich nicht ganz eindeutig zuordnen lässt, aber höchstwahrscheinlich den Treibertransistor darstellt (dunkelgrün). Im Pfad zwischen Transistor und Masse-Bondpad ist die Strommessung integriert (rot). Innerhalb eines jeden Endstufentransistors befindet sich ein Temperatursensor (hellblau), der durch die örtliche Nähe die Temperatur der zugehörigen Endstufe ohne größeren Zeitverzug bestimmt. An der linken und der rechten Kante sind jeweils zwei Freilaufdioden integriert (dunkelblau) und mit einem gemeinsamen Bondpad verbunden.
Die Steuerungslogik befindet sich kreuzförmig in der Mitte des Dies.

Das Design stammt aus dem Jahr 1987. Die Buchstaben QDM lassen sich nicht zuordnen. Sie könnten für einen oder mehrere Entwickler stehen, aber auch etwas anderes, zum Beispiel einen Fertigungsprozess, kennzeichnen.

Die Endstufentransistoren nutzen großflächig beide Metalllagen, um eine möglichst niederohmige Anbindung darstellen zu können. Die zwei Metalllagen erschweren es die darunter liegenden Strukturen zu identifizieren. Man kann trotzdem erkennen, dass es sich um einen klassischen Leistungstransistor handelt. Das Kollektorpotential wird seitlich zugeführt. Der aktive Bereich besteht aus einer Basisfläche, innerhalb der sich der Emitter befindet. Die Kontaktierung der Basisfläche erfolgt mindestens oberhalb eventuell auch unterhalb des Emitters. Die ganze Endstufe besteht aus sechs Transistoren.

Der Treibertransistor ist unter den Metalllagen noch schlechter auszumachen. Im unteren Bereich kann man dennoch die einzelnen Bereiche erahnen.

Die Strombegrenzung erfolgt über einen kurzen Streifen der Metalllage zwischen dem jeweiligen Endstufentransistor und seinem Masse-Bondpad. Der Spannungsabfall über diesen Streifen wird mit zwei Leitungen zur Steuerelektronik übertragen.

Als Temperatursensor dient ein gewöhnlicher, kleiner Transistor.

Die elektrische Anbindung der Freilaufdioden ist fast noch unübersichtlicher als die Kontaktierung der Endstufentransistoren. Es werden teilweise beide Metalllagen parallel genutzt, um über die relativ kleine Fläche eine möglichst niederohmige Anbindung erreichen zu können.

An den Signal-Ein- und Ausgängen befinden sich interessante Schutzstrukturen. Es scheint sich um zwei Transistoren zu handeln. Der eine Transistor ist deutlich zu erkennen (gelb). Das Potential des Bondpads wird anscheinend von der oberen Metalllage über die untere Metalllage zum Kollektor geführt. Der Kollektorbereich erscheint lila. Die tief liegende Kollektorzuleitung (buried Collector) zeigt sich lediglich als dünner Rahmen. Der Rahmen ist etwas verschoben, was bei den tief liegenden Schichten oft vorkommt. Das Kollektorpotential wird an der oberen Kante abgegriffen und zur restlichen Schaltung des TPIC2404 geführt. Zwischen den beiden Kollektorkontakten befinden sich ein Emitter- und zwei Basisanschlüsse. Der Emitter ist direkt, die Basis über einen Widerstand mit dem Massepotential verbunden.
Die Struktur unter dem ersten Transistor scheint einen etwas unkonventionelleren Transistor darzustellen (türkis). Während der obere Transistor vertikal aufgebaut ist, handelt es sich beim unteren Transistor um einen lateralen Transistor. Die Kollektorfläche, die mit dem Massepotential verbunden ist, kann man direkt erkennen. Mit den p-dotierten Isolationsrahmen und den daneben liegenden n-dotierten Kollektorflächen des ersten Transistors entsteht ein weiterer NPN-Transistor. Die Dotierungen und die geometrischen Formen dieses Transistors sind natürlich eher ungewöhnlich.

Zeichnet man die Schaltung auf, so ergibt sich folgendes Bild. Im Normalfall sollte beide Transistoren sperren. Der Transistor Q2 dürfte als Schutz vor negativen Spannungen dienen. Er stellt sicher, dass nicht unkontrolliert Strom über das Substrat fließt. Bei einem negativen Potential am Bondpad wird der Transistor leitend und der Strom zum Bondpad fließt direkt aus dem benachbarten Masseanschluss.
Der Transistor Q1 dient als Überspannungsschutz. Bei passender Auslegung bricht dieser Transistor durch bevor die restliche Schaltung Schaden nimmt und leitet Überspannungsimpulse auf direktem Weg zum Massepotential hin ab.